Чему равна масса цепи для поднят. воды из колодца 40 м, масса м цепи 500 г?

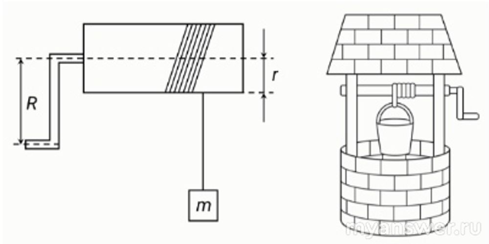
Для подъёма воды из колодца используют вóрот. Он состоит из деревянного цилиндра (барабана) радиусом r=10 см, закреплённого на оси. Ось вращается в подшипниках, закреплённых в стойках, с помощью ручки длиной R=40 см. Чтобы ведро, падая в колодец, не плавало, а сразу опускалось под воду, к ручке ведра прикрепляют цепь. Цепь тотчас опрокидывает плавающее ведро, оно опускается под воду и легко заполняется водой.

Чему равна масса цепи для поднят. воды из колодца 40 м, масса м цепи 500 г?

Чему равна масса цепи, используемой для поднятия воды из колодца глубиной 40 м, если масса каждого метра цепи составляет 500 г?

Ответ выразите в килограммах, округлите до целых.

Какую силу надо приложить к ручке ворота, чтобы удержать пустое ведро в начале его спуска в колодец? Масса пустого ведра 1 кг. Ускорение свободного падения g=10 Н/кг.

Ответ выразите в ньютонах, округлите до десятых.

Какую силу надо приложить к ручке ворота, чтобы удержать полное ведро в начале его подъёма из колодца? Вместимость ведра 10 л, плотность воды 1 г/см3. Ускорение свободного падения g=10 Н/кг.

Ответ выразите в ньютонах, округлите до десятых.

0
Жалоба

Ответы (1)

1) Первое задание совсем простое, можно даже обойтись без формулы. Если масса 1 метра цепи равна 500 г, то масса 40 метров цепи будет равна:

40 * 500 = 20000 г = 20 кг.

2) Посчитаем вес ведра:

Р = 1 кг * 10 Н/кг = 10 Н

Цепь намотана на барабан, значит, он находится в равновесии, нужно приложить силу для удержания ведра. Расстояние от оси барабана r = 10 см, длина ручки R = 40 см. Посчитаем, во сколько раз больше плечо силы:

40 / 10 = 4 раза. Значит, сила в 4 раза меньше веса ведра.

F = 10 / 4 = 2,5 Н.

3) Посчитаем массу воды в полном ведре, умножив объём на плотность:

m = 0,01 м³ * 1000 кг/м³ = 10 кг.

В начале подъёма нужно удержать цепь, ведро, полное воды. Общая масса будет равна:

M = 1 кг + 10 кг + 20 кг = 31 кг.

Вес всей этой конструкции равен:

Р = 31 кг * 10 Н/кг = 310 Н.

Так как плечо силы у нас больше в 4 раза (мы это посчитали ранее), то сама сила, которую нужно приложить, в 4 раза меньше. То есть:

F = 310 / 4 = 77,5 Н.

Ответить
+3
© 2012-2026 myanswer.ru
Все вопросы, размещенные на данном сайте, созданы пользователями или собраны из открытых источников. Связаться